-
人防设备——钢结构人防门的检验规程
人防设备——钢结构人防门的检验规程
本文对钢结构人防门的生产过程的检测做了系统的阐述,对人防设备的生产检测具有一定的指导意义。
1. 目的
规范钢结构门的检验。
2. 适用范围
适用于钢结构密闭门、钢结构防护密闭门的检验。
3. 检验依据
RFJ 01-2002人民防空工程防护设备产品质量检验与施工验收标准。
4. 环境条件
常温,相对湿度≤80%RH。
5. 工作程序
一、外形尺寸与配合尺寸
1、门框孔宽、孔高偏差
【技术要求】
一等:JS13,二等:JS14,三等:JS15
依据GB/T 1804-1992《一般公差 未注公差的线性和角度尺寸的公差》。
【检测方法】
用钢卷尺测量不少于3个断面的门框孔宽、孔高,对应图纸要求,计算其误差值。
【仪器设备】
钢卷尺
2、门扇宽度、高度偏差
【技术要求】
一等:JS13,二等:JS14,三等:JS15
依据GB/T 1804-1992《一般公差 未注公差的线性和角度尺寸的公差》。
【检测方法】
用钢卷尺测量不少于3个断面的门扇宽度、高度,对应图纸要求,计算其误差值。
【仪器设备】
钢卷尺
3、门框孔、门扇对角线长度偏差
【技术要求】
一等:JS14,二等:JS15,三等:JS16
依据GB/T 1804-1992《一般公差 未注公差的线性和角度尺寸的公差》。
【检测方法】
用钢卷尺、对角线检测尺测量门框孔、门扇对角线长度,对应图纸要求,计算其误差值。
【仪器设备】
钢卷尺、对角线检测尺
4、门扇、门框贴合面中心线的尺寸偏差
【技术要求】
一等:±2.0mm,二等:±3.0mm,三等:±4.0mm
【检测方法】
以门扇与门框贴合面为测量基准,用钢尺测量上、下、左、右四边不少于3个断面的嵌压板与胶条中心线偏差。
【仪器设备】
钢尺
5、门扇厚度偏差
【技术要求】
平板门:+3.0mm,拱形门:+4.0mm
【检测方法】
用拉线和钢尺测量不少于3个断面的厚度,对应图纸,计算偏差。
【仪器设备】
钢尺
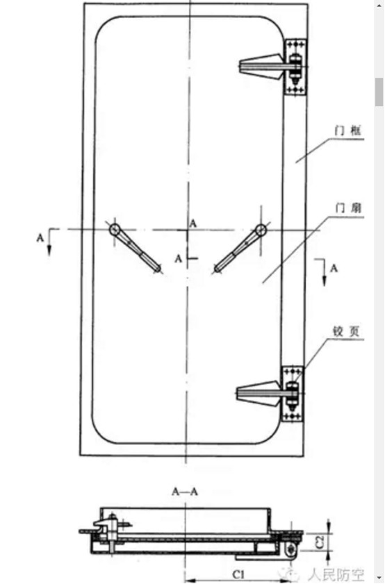
6、铰页位置偏移
【技术要求】
左右偏差:一等:1.0mm,二等:1.5mm,三等:2.0mm
前后偏差:一等:0.2mm,二等:0.3mm,三等:0.4mm
【检测方法】
以铰页轴为基准,用钢尺测量C1、用游标卡尺测量C2,测量位置如图。
【仪器设备】
钢尺、游标卡尺

铰页与门框、门扇配合图7、闭锁位置偏移
【技术要求】
左右偏差:一等:1.0mm,二等:1.5mm,三等:2.0mm
前后偏差:一等:0.2mm,二等:0.3mm,三等:0.4mm
【检测方法】
用拉线和钢尺测量测量闭锁左右或上下、前后尺寸,对应图纸,计算偏差。
【仪器设备】
钢尺
8、门扇的中心至门框的下槛偏差
【技术要求】
门框孔高H≤2000mm:一等:±1.0mm,二等:±1.5mm,三等:±2.0mm
门框孔高H>2000mm:一等:±1.5mm,二等:±2.5mm,三等:±3.0mm
【检测方法】
在门扇与门框装配好后,准确划好门扇中心线,用钢尺测量中心线至门框下槛的高度,对应图纸,计算偏差。
【仪器设备】
钢尺
9、门扇、门框贴合面的平面度
【技术要求】
门扇、门框贴合面最大尺寸L2≤3000mm:一等:1.5mm,二等:2.0mm,三等:2.5mm
门扇、门框贴合面最大尺寸L2>3000mm:一等:2.5mm,二等:3.0mm,三等:3.5mm
【检测方法】
方法一:用平板、水平仪、桥板、固定支承和可调支承,将被测的门扇、门框相贴合的平面调成水平,如图所示。用水平仪按一定布点和方向逐点地测量被测的表面,同时记录读数,换算成线值,根据各数值用计算法按最小条件或按对角线法计算平面度误差。
按a1=c3+2P+2Q,a3+2P=c1+2Q求出的P和Q代入各点,按最大最小读数值之差来确定被测表面的平面度误差值。
平面度测量方法一
方法二:将被测平面大致调平,灌入酒精的两个水平量器a和b用软管连通,并放置在被测平面上,先取量器a、b在同一位置的读数作零位,然后固定量器a,再按一定的布点移动量器b,同时将计数乘以2即为实际差值。计算平面度误差方法同上。
【仪器设备】
水平仪、水平量器。

平面度测量方法二
10、门扇、门框上下铰座孔的同轴度
【技术要求】
门框孔高H≤2000mm:一等:0.5mm,二等:0.8mm,三等:1.5mm
门框孔高H>2000mm:一等:0.6mm,二等:1.0mm,三等:2.0mm
【检测方法】
用三种等级公差的同轴度检测规对门扇、门框两铰孔的同轴度进行检验,如图示:
【仪器设备】
同轴度检测规。
门扇铰页孔同轴度检测图
11、铰页轴线的垂直度
【技术要求】
门框孔高H≤2000mm:一等:0.8mm,二等:1.2mm,三等:1.5mm
门框孔高H>2000mm:一等:1.0mm,二等:1.5mm,三等:2.0mm
【检测方法】
用吊线锤的方法测量线锤尖点与下铰轴中心点的偏差值,如图示。
【仪器设备】
吊线锤、钢尺
铰页轴与地平面垂直度检测图
12、闭锁轴(孔)和铰页轴(孔)的直径公差
【技术要求】
d11(H11)
【检测方法】
用千分尺测量闭锁轴(孔)和铰页轴(孔)的直径。
【仪器设备】
千分尺
13、闭锁转动件蜗轮蜗杆副精度
【技术要求】
达到GB/T10089-1988的9级精度。
⑴ 传动切向综合公差F 'ic=216μm
⑵传动一齿切向综合公差f 'ic=36μm
⑶传动接触斑点
a) 沿齿高接触面积不小于45%,沿齿长接触面积不小于40%。
b) 接触形状:不作要求。
c) 接触位置:接触斑点痕迹应偏于啮出端,但不允许在齿顶和啮人、啮出端的棱边接触。
【检测方法】
⑴ 安装好的蜗杆副啮合转动时,在蜗轮和蜗杆相对位置变化的一个整周期内,蜗轮的实际转角与理论转角之差的总幅度值。以蜗轮分度圆弧长计
⑵ 安装好的蜗杆副啮合转动时,在蜗轮一转范围内多次重复出现的周期性转角误差的最大幅度值。以蜗轮分度圆弧长计
⑶ 安装好的蜗杆副,在轻微制动下,运转后齿面上分布的擦亮痕迹。接触痕迹的大小,在齿面展开图上用百分比计算。
采用CWG-800蜗杆副综合检测仪可以直接读取测量数据。
【仪器设备】
CWG-800蜗杆副综合检测仪(较贵)、游标卡尺
二、使用性能
14、门扇启闭力
【技术要求】
门孔长边L≤2000mm: 一等:50N, 二等:70N, 三等:90N
门孔长边2000mm<L≤5000mm:一等:100N,二等:120N,三等:140N
门孔长边L>2000mm: 一等:140N,二等:160N,三等:180N
【检测方法】
用SN-500拉压测力计拉门扇开启或关闭,力的作用点在门扇拉手处,拉力的方向始终垂直于门扇表面,均匀慢速将门扇拉开或关闭至能锁上闭锁为止,整个过程的最大力为门扇启闭力。
【仪器设备】
SN-500拉压测力计
15、关锁操纵力
【技术要求】
门孔长边L≤2000mm: 一等:180N, 二等:200N, 三等:220N
门孔长边2000mm<L≤5000mm:一等:200N, 二等:220N, 三等:240N
门孔长边L>2000mm: 一等:220N, 二等:240N, 三等:260N
【检测方法】
用SN-500拉压测力计拉闭锁手柄(轮),力的作用点距手柄末端(或手轮边缘)50mm,拉力的方向垂直于闭锁手柄(或与手轮外圆相切),且与门扇表面平行。
【仪器设备】
SN-500拉压测力计
16、降落式门升门操纵力
【技术要求】
门孔长边L≤5000mm:一等:100N, 二等:140N, 三等:180N
门孔长边L>5000mm:一等:180N, 二等:220N, 三等:250N
【检测方法】
用SN-500拉压测力计测量降落式门升门操纵力。
【仪器设备】
SN-500拉压测力计
17、最大允许漏气量(适用于密闭门和防护密闭门)
【技术要求】
进行密闭门或防护密闭门的密闭性能试验时,其测试漏气量应符合表2.2.1规定:
防护密闭门与密闭门最大漏气量
【检测方法】
测量装置:将防护密闭门或密闭门的门框用紧固螺栓、压板等与超压室固定,门框角钢与超压室结合缝用油灰腻子贴角10mm抹泥,再刷两道油漆,了也可在接口处垫海绵橡胶板,实现接缝密封。
测量装置的气路图如示,进气口和测压口的气咀加胶垫密封,排除非门漏气环节,气源压力0.4MPa为宜。
测量:用深度尺按图示测量16个测点的胶条压缩量,其中最小压缩量应大于3mm,最大压缩量为(10~12)mm。
打开阀门向超压室充气,使微压计计数稳定50Pa(单扇、双扇密闭门,双扇防护密闭门)或100Pa(单扇防护密闭门),读取玻璃转子流量计的数值即为门的漏气量。
【仪器设备】
超压室(自制),微压计、转子流量计
漏气量测量装置

漏气量测量装置示意图
三、材质和外观
18、海绵橡胶密封条质量(适用于密闭门和防护密闭门)
【技术要求】
⑴拉断强度:≥7.5MPa ;
⑵拉断伸长率:≥350%
⑶拉断永久变形:≤4%
⑷硬度HRA:24~38
⑸当压缩密封条的密封板厚度为4mm时,密封条的压缩变形δ与单位长度的压缩反力Q之间的关系应符合下表要求:
⑹密度:(0.45~0.54)g/cm3⑺外观质量和技术要求:
a) 密封条表面颜色应均匀一致,不允许有污渍。
b) 密封条工作表面应光滑平整,不允许有明显的模压胶条痕迹、凸凹不平现象及划破现象。
c) 密封条为封闭性微孔结构,不允许有贯穿密封条断面的通孔。
d) 密封条周边缺胶不允许有直径大于5mm的缺陷。
e) 除双扇密闭门(或防护密闭门)的直条上下接头不粘接外,密封条的其他接头应采用45°斜接口,斜口应避开圆弧拐弯处,粘接要牢固、平整,用手拉伸30%不裂口、不断裂。冷接头数量:单扇门不超过2处,双扇门不超过6处。
f) 双扇密闭门(或防护密闭门)的T形接头,应用模具整体制作,不得粘接。
g) 防护设备用P形密封条,其接头数量不得超过2处,且不允许冷粘接。
【检测方法】
⑴拉断强度、拉断伸长率、拉断永久变形依据GB/T 528-1998《硫化橡胶和热塑性橡胶拉伸应力应变性能测定》,试样制备、状态调节按标准GB/T 2941-2006《橡胶物理试验方法试样制备和调节通用程序》进行。试样形状为哑铃状试样,试样厚度为(10±0.3) mm,数量不少于3个。
材料试验机应符合HG2369-1992《橡胶塑料拉力试验机技术条件》(或JB/T 《橡胶塑料拉力试验机技术条件》)的要求,试验速度要求较大,对1型和2型试样,夹持器移动速度应为(500±50)mm/min,对3型核4型试样,速度为(200±20)mm/min,同时试验行程大,精度要求为B级。
试样的制备对裁刀和裁片机、打磨机要求较高,应符合GB/T 2941-2006《橡胶物理试验方法试样制备和调节通用程序》的要求。(GB/T 9865.1《硫化橡胶或热塑性橡胶样品和试样的制备第一部分:物理试验》已被代替)。
试样测量采用符合GB/T 2941-2006《橡胶物理试验方法试样制备和调节通用程序》中规定的测厚仪和测量方法(GB/T 5723-1993《硫化橡胶或热塑性橡胶 试验用试样的制品尺寸的测定》已被代替),测量时施加的压力有严格的规定,在试样的中部和试验长度的两端测量其厚度,取三个测量值的中位数计算横截面的面积。在任何一个哑铃状试样中,狭小平行部分的三个厚度值均不应超过中位数的2%。取裁刀狭小平行部分刀刃间距离作为试样宽度,测量值精确到0.05mm。
试样调节应配备符合GB/T 2941-2006《橡胶物理试验方法试样制备和调节通用程序》规定的恒温箱(GB/T 9868-1988《橡胶获得高于或低于常温试验温度通则》已被代替),温度和湿度都已规定时,试样的调节时间不少于16h,然后立即试验。当采用标准实验室温度且不需要控制湿度时,试样调节应不少于3h,然后立即试验。当规定了一个不同于标准实验室温度且不需要控制湿度条件时,应经过足够长调节时间,以使试样与环境温度相平衡,或根据试验材料和产品的有关规定处理。如果试样需要进行打磨,则打磨和试验间的时间间隔应不少于16h,也不应大于72h。对于标准温度下的试验,如果从经过调节的试验样品上裁取试样,则试样可以立即试验。对于需要进一步制备的试样,应使其在标准温度下至少调节3h。
测量扯断永久变形时,应将断裂后的试样放置3min,再把断裂的两部分吻合在一起,用精度为0.05mm的量具测量吻合后的两条平行标线间的距离并按下式计算。
Sb=100(Lt-L0)/L0
式中: Sb-扯断永久变
Lt-试样断裂后,放置3min后对起来的标距,mm
L0-初始试验长度,mm
⑵ 密封胶的硬度测量依据GB/T 6031-1998《硫化橡胶或热塑性橡胶硬度的测定》进行(GB/T 6033-1985《硫化橡胶赵氏及邵坡尔硬度实验方法》查不到有效版本),
塑料硬度计根据测量硬度范围选择,试样调节同上。试样表面应光滑平整,不应有缺胶、机械损伤及杂质气泡,且上下两面平行;试样面积应够测量三点,测量点之间或测量点与试样边缘的距离应不少于12mm;试样厚度(6~8)mm。试样测量不少于三点且测点不得重复,测量点之间或测量点与试样边缘的距离应不少于12mm,取其中值为试验结果,试验结果精确到0.01mm。
⑶ 密封条的单位长度压缩反力和密度测量依据GCB 6-89《防护设备用海绵橡胶密封条》附录A、B规定进行。
GCB 6-89《防护设备用海绵橡胶密封条》标准未找到。
⑷ 密封条的外观质量采用目测的方法进行。
【仪器设备】
拉力试验机(B级,试验速度达到500±50mm/min),赵氏及邵坡尔硬度计(精度0.01mm),测厚计(精度0.01mm),钢直尺,游标卡尺,锥形测径计(精度0.01mm),旋转刀具设备(参照工业切片机),切割机(参照皮革切片机),砂轮,挠性打磨带,试样裁刀,恒温箱等。
19、钢结构材料质量
【技术要求】
达到图纸和施工规范的要求。
【检测方法】
检查材料出厂合格证和加工前的测试报告。
加工前的测试报告根据不同的材料进行性能试验,检测项目包括:拉伸强度、屈服强度、断后伸长率。
试样的制备依据GB/T2975-1998 《钢及钢产品力学性能试验取样位置及试样制备》进行,试验方法依据GB/T 228-2002 《金属材料室温拉伸试验方法》,性能参数的判定依据相关材料的标准进行。
【仪器设备】
微机控制电子万能(拉力)试验机、游标卡尺、外径千分尺、钢直尺。
20、焊缝质量
【技术要求】
达到GB/T3323-2005《金属熔化焊焊接接头射线照相》Ⅱ级质量要求。
⑴Ⅱ级焊接接头:应无裂纹、未熔合和未焊透;
⑵评定区内的缺陷点数:
评定区/mm
10×10
10×20
10×30
评定厚度/mm
≤10
>10~15
>15~25
>25~50
>50~100
>100
质量等级:Ⅱ
3
6
9
12
15
18
⑶条形缺陷
质量等级
评定厚度T/mm
单个条形缺陷长度/mm
条形缺陷总长
Ⅱ
T≤12
4
在平行于焊缝轴线的任意直线上,相邻两缺陷间距均不超过6L的任何一组缺陷,其累计长度在12T焊缝长度内不超过T。
12<T<60
T/3
T≥60
20
⑷ 根部未焊透:
质量等级
未焊透的深度
长度/mm
占壁厚的百分数/ %
深度/mm
Ⅱ
≤15
≤1.5
≤10%周长
⑸根部内凹缺陷和根部咬边应符合下表规定:
质量等级
根部内凹的深度
长度/mm
占壁厚的百分数/ %
深度/mm
Ⅱ
≤20
≤2
不限
⑹ 综合评级
在圆形缺陷评定区内,同时存在圆形缺陷和条形缺陷(或未焊透、根部内凹和根部咬边)时,应各自评级,将两种缺陷所评级别之和减1(或三种缺陷所评级别之和减2)作为最终级别。
【检测方法】
纵缝单壁透照法、双壁单影法进行检测。
【仪器设备】
X射线机、黑度计、像质计、观片灯、射线胶片、增感屏
21、钢材预处理
【技术要求】
GB/T 8923-1988 《涂装前钢材表面锈蚀等级和除锈等级》中St3级要求,锈蚀程度为A级或B级。
锈蚀程度A级:全面覆盖着氧化皮而几乎没有铁锈的钢材表面。
锈蚀程度B级:已发生锈蚀,并且部分氧化皮已经剥落的钢材表面。
除锈等级St3级:非常彻底的手工或电力工具除锈,钢材表面应无可见的油脂和污垢,并且没有附着不牢的氧化皮、铁锈和油漆涂层等附着物,底材显露部分的表面应具有金属光泽。
【检测方法】
评审钢材的表面锈蚀等级和除锈等级应在良好的散射日光下或照度相当的人工照明条件下进行,检查人员应有正常的视力。待检查的钢材表面与相应的照片进行目测比较,评定锈蚀等级时,经相应锈蚀较严重的等级相片所标示的锈蚀等级作为评定结果,评定除锈等级时,以与钢材表面外观最接近的照片所标示的除锈等级作为评定结果。
【仪器设备】
目测,标准相片。
22、油漆漆膜厚度
【技术要求】
每层漆膜厚度为25~30μm,漆膜总厚度为100~120μm。
【检测方法】
漆膜厚度依据GB/T13452.2《色漆和清漆漆膜厚度的测定》进行检测。
试验板为钢质材料,要求平整且没有变形,尺寸长度为300mm、宽度为70mm、厚度大于0.23mm。试验板粘贴在除锈后的门扇内、外表面,试验板的数量和位置如图所示;门框的漆膜厚度可在门框正面四角处贴试验板进行试验。
试样的处理、涂装、干燥,应符合GB/T 1727-1992《漆膜一般制备法》、GB/T 9271-1988《色漆和清漆标准试板》的规定。干燥后的漆膜试板在恒温恒湿条件下状态调节0.5~1h,然后进行各种性能测试。
检测方法共有六种,可选择以下方法:
⑴千分尺法测量干膜厚度
该方法适用于试样或实质上平整的涂漆面。选取若干千分尺能伸进的测试部位,该部位应表面平整,离任何漆膜的边缘不得小于20mm,其间隙约为50mm。在每一测试部位轻轻画一个直径约10mm的圈标记号,其旁加注明显号码。将千分尺的固定卡头与试板底部水平接触,并且接触漆膜的第一个测试部位,轻轻捻动活动卡头到有顶住的感觉。读取千分尺上的读数,在测试记录单上记上读数值和部位的有关编号,放开千分尺,在其余的每个测试部位重复以上步骤。用适当的溶剂或脱漆剂除去试板上每个测试部位圆圈内漆膜。在每个部位重复以上步骤,测出底材厚度。将每个编号的第一次读数值减去第二次读数值来计算每个测试部位的漆膜厚度。根据各漆膜厚度计算试板漆膜厚度的平均值,其结果应四舍五入至最接近2μm倍数。
⑵非破坏性仪器测量法
该方法适用于磁性金属底材。仪器磁件不应置放在离测试件的任何边小于25mm或使仪器的磁场强度不均一的地方。仪器应经常与标准垫片和参照表面校准,以确保标定仍是有效的。可以将标准垫片放置在测试表面上进行校准,以校对仪器在已知垫片厚度所得的相应读数增长是否在仪器所称的精确度限度以内。试样在机械处理和加工时,很容易磁性化,这将影响所得读数的准确性。为此,作为参照表面的对照试样,应在组成和测量前的处理等方面尽可能与试样相似。放置仪器探头于涂漆件上,读取读数。在涂漆的部件上,以相似的方式,读取几个数据,以得到代表性结果。
【仪器设备】
杠杆千分尺、覆层测厚仪、恒温恒湿干燥箱

油漆漆膜厚度检测
23、漆膜附着力
【技术要求】
达到GB/T 9286-1998《色漆和清漆 漆膜的划格试验》的有关要求。

【检测方法】
试样应以钢为底材,要求平整且没有变形,尺寸约300mm×10mm的长方形,保证试验在三个不同位置进行。试样的处理、涂装、干燥应符合GB/T 1727-1992《漆膜一般制备法》,GB/T 9271-1988《色漆和清漆标准试板》的规定。
在试验前试样进行状态调节,置于温度(23±2)℃,相对湿度(50±5)%条件下至少放置16h。
依据GB/T13452.2-1992《色漆和清漆 漆膜厚度的测定》的要求测量涂层厚度,根据涂层厚度,选择多刃切割刀具间距规格(多刃切割刀具间距规格有1mm、2mm两种,1mm的多刃切割刀适用于涂膜厚度≤60μm的试片,2mm的多刃切割刀适用于涂膜厚度61μm~120μm的试片)。
将样品放置在坚硬、平直的物面上,以防止试验过程中样板的任何变形。握住切割刀具,使刀垂直于样板表面对切割刀具均匀、平稳的不颤动的施力和(20~50)mm/s的切割速度割划。将试样旋转90度角,重复上述操作,以形成格阵图形。如果不可能做到切透至底材是由于涂层太硬而造成的,则表明试验无效,并如实记录。在试验样板上至少进行三个不同位置试验,并且三个位置的相互间距和试板边缘间距均不小于5mm[试板尺寸约150×100(mm)的长方形,底板的最小厚度应为0.25mm]。如果三次结果不一致,差值超过一个单位等级,在三个以上不同位置重复上述试验,必要的话,则另用样板,并记下所有的试验结果。
用软毛刷沿网格图形每一对角线,轻轻地向后扫5次,再向前扫5次。用透明的压敏胶粘带,按均匀的速度拉出一段长度,除去最前面的一段,然后剪下长约75 mm。
把该胶粘带的中心点放在网格上方,方向与切割线平行,然后用手指把胶粘带在网格区上方的部位压平,胶粘带长度至少超过网格20 mm。同时用手指尖用力蹭胶粘带。透过胶粘带看到涂层颜色全面接触是有效的显示。在贴上胶粘带5min内,拿住胶粘带悬空的一端,并在尽可能接近60。的角度,在(0.5~1.0)秒钟内平稳地撕离胶粘带。胶粘带撕离后将其固定在透明膜面上进行住留,以供参照用。
检验结果的评定在撕离胶粘带后立即进行。在良好的照明环境中,用正常的或校正过的视力,或经有关双方商定,用目视放大镜仔细检查试验涂层的切割区。在观察过程中,转动样板,以使试验面的观察和照明不局限在一个方向。
【仪器设备】
漆膜画格器、调节箱(恒温箱)、覆层测厚仪或杠杆式千分尺
23、油漆漆膜耐候性
【技术要求】
达到GB/T 1766-1995 《色漆和清漆 涂层老化的评级方法》的有关要求,优、良、中分别对应一等、二等、及格。
【检测方法】
进行以下单项等级评定:
⑴失光等级评定:依据GB T 9754-1988《色漆和清漆不含金属颜料的色漆漆膜之20°、60°和85°镜面光泽的测定》,用漆膜涂布器制样,用光泽计检测和等级评定。
⑵变色等级评定:依据GB/T 9761-1988 《色漆和清漆色漆的目视比色》检测,将老化后的样板与未老化的样板(标准板)用比色箱和目测观察进行比色,按漆膜老化前后颜色变化程序评级。也可用仪器法,仪器包括光谱光度计、滤光光谱光度计、积分计器、色度计等。
⑶粉化等级评定:依据GB/T 14826-1993 《色漆涂层粉化程度的测定方法及评定》检测,用色漆涂层粉化测定仪或手工法和标准相片进行比较。
⑷开裂等级评定:用目测观察进行评定。
⑸起泡等级评定:用目测观察进行评定。
⑹生锈等级评定:用目测观察进行评定。
⑺剥落等级评定:用目测观察进行评定。
⑻斑点等级评定:用目测观察进行评定。
⑼泛金等级评定:用目测观察进行评定。
⑽沾污等级评定:用目测观察进行评定。
根据各单项评定结果进行综合评定等级。
【仪器设备】
漆膜涂布器、比色箱、光谱光度计、滤光光谱光度计、积分计器、色度计。
25、门扇运动的平稳性、可靠性
【技术要求】
对于手动门要求启闭门、开关锁、提升门运动灵活、无卡阻、无异常响声;对于电动门、除上述要求外、还要求平稳可靠,启闭门、开关锁时间符合设计要求。
【检测方法】
目测检查
26、外观质量
【技术要求】
表面平整光滑、开关标志、制造厂标牌及产品标牌齐全。
【检测方法】
目测检查